| BAUTEILE-ÜBERSICHT |

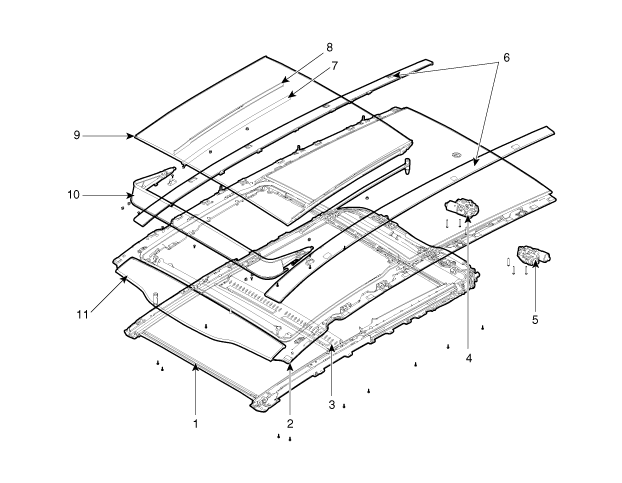
| 1. Panoramadachmechanismus
2. Kompletter Panoramadach-Rahmen 3. Mittlere Panoramadachabdeckung 4. Panoramadach-Scheibenmotor 5. Panoramadach-Rollomotor 6. Seitliche Dachträgerverkleidung |
7. Panoramadachschieber 8. Faltbare Panoramadachabdeckung 9. Panoramadachscheibe 10. Panoramadach-Windabweiser 11. Vordere Panoramadachscheibe |
Reparaturverfahren