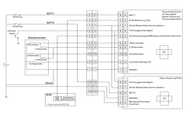
| Schaltplan |

|
NEIN |
Verkabelung - Schiebedach Stecker (Fahrzeugseite) |
Verkabelung - Schiebedach Stecker (MOTOR) |
Panoramadachmotor (Master) |
Rollomotor (Slave) |
|
|
|
|
|
|
|
1 |
Masse Nr. 1 |
Masse Nr. 1 |
Masse 2 |
|
|
2 |
Scheibenstatussignal/Werkzeug |
Scheibenstatussignal/Werkzeug |
- |
|
|
3 |
BCM-Aktivierung |
BCM-Aktivierung |
- |
|
|
4 |
TILT UP SWITCH |
TILT UP SWITCH |
- |
|
|
5 |
Schalter zum Öffnen von Rollo und Scheibe |
Schalter zum Öffnen von Rollo und Scheibe |
- |
|
|
6 |
Batterie 1 |
Batterie 1 |
Batterie 2 |
|
|
7 |
- |
LIN-Kommunikation |
LIN-Kommunikation |
|
|
8 |
FAHRZEUGGESCHWINDIGKEITSSIGNAL |
FAHRZEUGGESCHWINDIGKEITSSIGNAL |
FAHRZEUGGESCHWINDIGKEITSSIGNAL |
|
|
9 |
Schalter für autom. Öffnen der Scheibe / autom. Schließen des Rollos |
Fenster mit Automatik öffnen / Schließautomatikschalter des Rollos |
- |
|
|
10 |
Scheiben- und Rollo-Schließschalter |
Scheiben- und Rollo-Schließschalter |
- |
|
|
11 |
Masse 2 |
|
|
|
|
12 |
Batterie 2 |
|||
|
13 |
- |
|||
|
14 |
- |
|||
Bauteile und bauteile-Übersicht
Panoramadachschalter Bauteile und bauteile-Übersicht